Description
| Régulation poste de froid positif | oui |
| Régulation poste de froid négatif | oui |
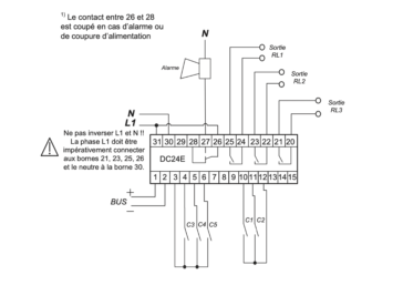
| Gestion de la centrale | oui (jusqu’à 3 compresseurs, avec un capteur de pression 0-10 V) |
| Hygrométrie | oui |
| Entrée-sorties configurables | oui |
| Concentration des gaz | non |
| Climatisation - froid/chaud | oui |
| Gestion des zones d’éclairage | oui |
| Entrées | |
| PT 1000 | 5 (compatible également avec les sondes: NTC 10K/25°C, L.243, KTY81) |
| 0-10 V | oui |
| 4-20 mA | non |
| TOR | 2 |
| Sorties | |
| Relais | 4 |
| Analogique | non |
| Autres | |
| Afficheur blanc | oui |
| Alimentation | 230 VAC |
| Interface bus télésurveillance | oui |
| Horloge | oui |
| Détendeur électronique | non |
| Bus local pour les extensions | non |
| Alimentation | |
| Tension d’alimentation | 110-250 VAC, 50-60Hz |
| Puissance maximale absorbée | 3 W |
| Classe de protection | 1 |
| Degré de pollution | 2 |
| Catégorie de surtension | II |
| Conditions d’utilisation | |
| Température | 0-40°C |
| Humidité | Boîtier IP65, 0-80 % (sans condensation) |
| Pouvoir de coupure des sorties relais | inductive 3 A 250 VAC, résistive 3 A 250 VAC |
| Horloge - réserve de marche | 4 jours |
| Entrée 0-10 V | gamme de mesure: 0-10 V |
DC24E en mode régulation poste de froid
DC24E pour la régulation de deux meubles
DC24E pour la régulation de trois meubles
DC24E pour la gestion des postes à plusieurs évaporateurs
DC24E et calendrier hedromadaire
DC24E pour la régulation de l’hygrométrie
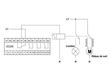
DC24E en mode entrées-sorties














